Por ing. Hernán Hernández
Uno de los propósitos del sistema de puesta a tierra es la operación de los dispositivos de protección cuando se presenta una falla; además permite disipar a tierra la energía de un rayo y de algún modo reducir las interferencias electromagnéticas.
El sistema de puesta a tierra se compone esencialmente de 3 elementos:
Electrodo.
Conductores de puesta a tierra.
Barra de puesta a tierra.
Un cuarto elemento es el terreno donde se instalará el electrodo, en éste debe medirse la resistividad que influirá en la resistencia del sistema de puesta a tierra. La resistividad del terreno se mide fundamentalmente para encontrar la profundidad y grueso de la roca en estudios geofísicos, así como para encontrar los puntos óptimos para localizar la red de puesta a tierra. Asimismo, puede ser empleada para indicar el grado de corrosión de tuberías subterráneas.
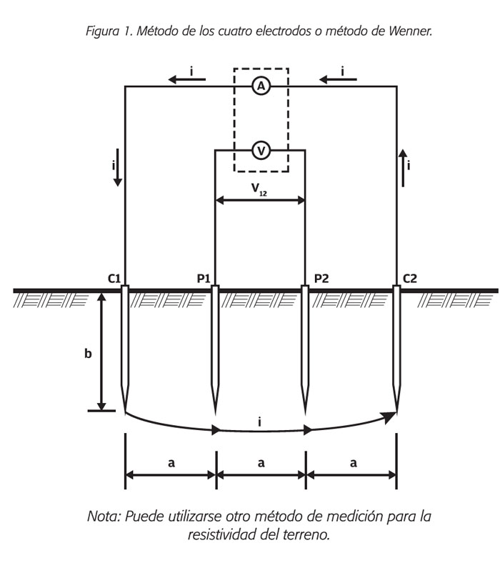
La medición de la resistividad se realiza usando el método de Wenner, el cual consiste en utilizar cuatro electrodos de prueba auxiliares enterrados en línea recta y a una distancia uniforme entre ellos (Ver figura 1). Una fuente de corriente, conectada entre los electrodos auxiliares externos, suministra una corriente a tierra, este flujo de corriente produce una variación del potencial en el suelo, generando una diferencia de potencial en los electrodos auxiliares internos.

La relación entre esa diferencia de potencial y la corriente de prueba correspondiente a la resistencia del suelo, se utiliza para determinar la resistividad aparente.
Los resultados medidos pueden ser influenciados por inducción si se realizan mediciones con las puntas de pruebas torcidas o conectadas entre sí. Al conectar las sondas, éstas deben estar separadas.
Para realizar esta medición, utiliza un terrómetro de 4 puntas y sigue estos pasos:
1. En el terreno donde se proyecta instalar el sistema de puesta a tierra, coloca los electrodos de prueba, de acuerdo con lo indicado en el manual del equipo de medición (terrómetro); en algunos casos, la profundidad a los que deben enterrarlos es un porcentaje del intervalo entre los electrodos de prueba. Por ejemplo 5% o menos para un intervalo de 1-30 m.
2. Con un flexómetro, realiza la medición en línea recta y determina longitudes iguales, tomando en cuenta que un electrodo quedará al inicio y otro al final de la longitud. Marca el lugar donde deberá insertarse cada electrodo (Ver figura 2).

3. Con un martillo o mazo, inserta cada electrodo en el terreno tomando en cuenta la profundidad indicada en el instructivo del terrómetro.
4. Conforme a las terminales de conexión del equipo de medición, conecta los electrodos; es común utilizar caimanes aislados para esto.
¿Cómo realizar la prueba de medición?
Configura el equipo para realizar la prueba, esto varía entre marcas y modelos de los equipos, por lo que debes consultar el instructivo. Es probable que tengas que configurar los parámetros de distancia y tiempo.
Una vez terminada la prueba toma nota del resultado. Para obtener el perfil de resistividad, es recomendable que tomes varias lecturas de resistividad en diferentes direcciones para cada espaciamiento. El perfil de la resistividad del suelo determinará el valor de la resistencia a tierra y la profundidad de nuestro sistema de puesta a tierra.
Es importante mencionar que, en general, los lugares con resistividad baja tienden a incrementar la corrosión.
Cabe mencionar que la medición de la resistividad del terreno es altamente importante para diseñar un sistema de tierras de gran tamaño. Te aconsejamos encontrar el área de más baja resistividad para lograr la instalación más económica.




Soy un profesional interesado en el comportamiento de los sistemas de puesta a tierra para realizar trabajos altamente profesional y asesorarme de la mejor manera posible por las experiencias que puedan suministrarme agradecido estare por sus colabaoraciones en este tema
ATT. Jose Julian Torres Gomez
REVISTA ELECTRICA: Mi mas sincero agradecimiento por toda la informacion que me enviaron a lo largo de 19 años, y que me ha servido mucho. Que lastima que ya no vayan a editar su revista.
MUCHAS GRACIAS OIR TODO Y ATODOS LOS QUE HICIERON POSIBLE QUE LA REVISTA LLEGARA NUESTRAS MANOS:
Es un gusto leer tu comentario José Pablo. Seguiremos al pie del cañón a través de Facebook y recibiendo sugerencias de parte de ustedes. ¡Un abrazo!
Por primera vez abro su pagina y mi primera impresión: es excelente.
Saludos desde la ciudad de Puebla.
Sonriamos.
Muchas gracias por tu visita Rubén. Estamos muy contentos de tenerte como lector. ¡Saludos! 🙂
Es muy importante conocer la resistividad de los suelos para una mejor instalacion
Así es Miguel, esto es clave para una instalación segura. ¡Saludos!
Muy buena informacion gracias
Gracias por tu comentario Lázaro. Saludos.
es una muy buena explicación de como obtener la resistividad del terreno y sobre todo poder tener la diferencia entre resistencia a tierra y resistividad
felicito a esta pagina por este articulo
Nuestro objetivo es brindarles información valiosa para su trabajo. Muchas gracias por tu comentario Eleuterio.
estos vídeos son una gran aportación para nuestros conocimientos y hacer lo adecuado en los trabajos que necesitemos gracias
Lo importante es precisamente aplicar los conocimientos adecuadamente como mencionas compañero. ¡Saludos!
Se agradece muchísimo por todo el contenido pues habemos personas que estamos iniciando y es de gran ayuda.
Ése es nuestro objetivo, ser una guía para nuestros lectores. Saludos André
Excelentes temas y para el caso del tema de tierras.
Muchas felicidades.
Una pregunta, ya no están enviando la revista del electricista.
Me interesan mucho lo de puesta a tierra y sistemas de energía solar.
Saludos y muchas gracias.
Hola José, gracias por tu comentario. La revista se sigue enviando a los suscriptores vigentes. ¿Desde cuándo no te llega?
Que bueno que exista este grupo da muy buenos tips
Saludos Domingo. Gracias por tu comentario.
Cuando mencionas que para obtener el perfil se deben tomar varias medidas en diferentes direcciones para cada espaciamiento. Quieres decir que para la primera ruta que escoja primero tomo una medida a un espaciamiento de 1m luego a 3m, luego a 5m y por último de 7m y ya tengo un perfil, luego para el próximo perfil lo trazo hacia otra dirección y hago las medidas a los mismos espaciamiento y con estos datos aplicó la estadística de BOX COX??? Pará saber la resistividad del terreno
Así es Daniel, la intención es tomar diferentes mediciones (siempre respetando la misma distancia) para obtener un promedio. ¡Saludos!
Quiero recibir informacion
Buenos días Luis, el número 89 fue nuestra última edición impresa y editaremos un número más digital. Seguiremos compartiendo información con ustedes a través de nuestro Facebook https://www.facebook.com/RevistaElectrica/ ¡Saludos!
Hola muchas gracias por sus videos
Hola Cristóbal, gracias a ti por formar parte de nuestra comunidad.
Excelente artículo técnicamente bien esplicado para estudios o pruebas de suelo a futuras sistemas de puestas a tierra paso a paso para determinar la resistividad resistencia ect
Gracias Ricardo. Recibe un saludo de parte de nuestro equipo editorial.
Artículos de interés, un tema del cual no hay mucha información disponible, solo lo que nos dicen los fabricantes de productos generalmente.
Gracias, seguiré atento
Saludos Manuel.
Ayudame con informacion de equipos de medicion para la puesta a tierra
exelente ..publicacion seguire los proximos
Buen día Carlos, la edición 89 fue nuestra última edición impresa. Seguiremos compartiendo información con ustedes a través de Facebook https://www.facebook.com/RevistaElectrica/ ¡Saludos!